Машина первичной очистки зерна МЗП-50А

МЗП-50А является сельскохозяйственной зерноочистительной машиной и она предназначается для работы в фермерских хозяйствах и других сельскохозяйственных предприятиях на очистке товарного зерна и семян зерновых, зернобобовых, технических культур и семян трав от примесей отличающихся размерами и парусностью, а также для разделения семян на крупные и мелкие, легкие и тяжелые с помощью решет и воздуха.
Описание
Характеристики

Описание

Общий вид машины МЗП-50А:

1 – воздушный сепаратор очистки зерна до решет; 2 – система очистки отработанного воздуха; 3 – воздушный сепаратор очистки зерна после решет; 4 – решетный сепаратор.

НАЗНАЧЕНИЕ

МЗП-50А является сельскохозяйственной зерноочистительной машиной и она предназначается для работы в фермерских хозяйствах и других сельскохозяйственных предприятиях на очистке товарного зерна и семян зерновых, зернобобовых, технических культур и семян трав от примесей отличающихся размерами и парусностью, а также для разделения семян на крупные и мелкие, легкие и тяжелые с помощью решет и воздуха.

Машина МЗП-50А изменяет технологическую эффективность при разной производительности (по пшенице).
E         - количество выделяемых примесей в процентах;
Q       - производительность машины в тоннах за час.
На практике, задаваясь технологической эффективностью можно (ориентировочно) определить производительность машины ЗМ-50А. Например, при выделении из зерна около 65% примесей машина будет иметь производительность до 40 т/ч, а при паспортной эффективности 60% будет давать 50 т/ч.

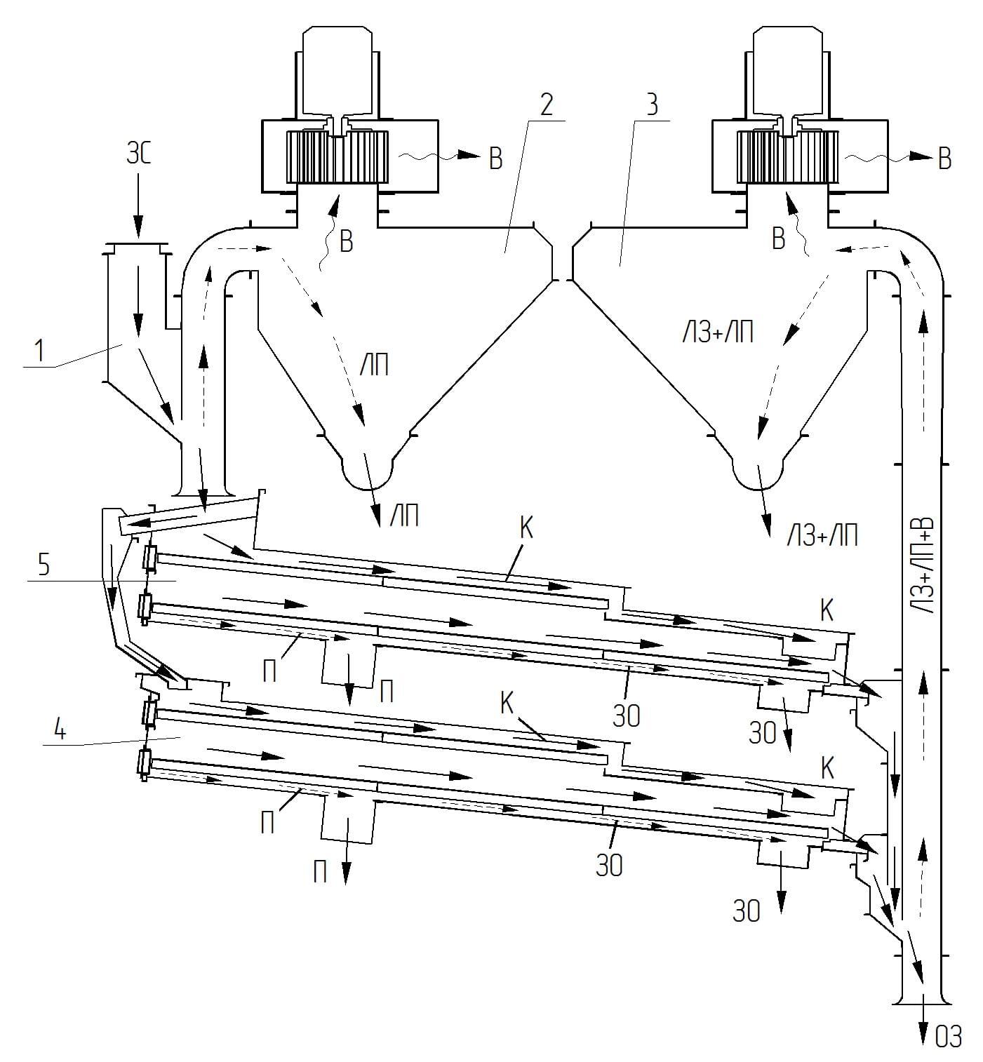
Технологическая схема работы МЗП-50А  при делении зерновой смеси на шесть фракций:

1-приёмный бункер; 2-воздушный сепаратор очистки зерна до решет; 3- воздушный сепаратор очистки и сортирования зерна после решет; 4 – нижний решётный стан; 5- верхний решетный стан.
ЗС – зерновая смесь (зерно и примеси);
ЛП – легкие примеси;
ЛЗ – легкое зерно;
В – запыленный воздух;
К – крупные примеси;
П – мелкие, неиспользуемые примеси (подсев);
ЗО – зерновые отходы;
ОЗ – очищенное зерно.
Из машины выходят фракции:
   из воздушной части ЛП+ЛЗ+ЛП;
   из решетной части К+П+30+03.
Такая технологическая схема используется при очистке семян.

Машина может работать ещё по таким схемам:
   на очистке товарного зерна ЛП+ЛП+К+П+ОЗ;
   на очистке семян ЛП+ЛЗ+ЛП+К+ЗО+ОЗ;
   на очистке кормового зерна ЛП+ЛП+К+П+ОЗ.

Конструктивная и технологическая схемы позволяют:
   выделять из зерна легкие, мелкие и крупные примеси;
   разделять зерно на легковесное и тяжёлое, мелкое и крупное.

Отличительные характеристики отдельных узлов и систем машины

Наименование узла или системыОтличительные характеристикиВоздушная частьСостоит из двух самостоятельных воздушных сепараторов. Это позволяет настраивать каждый сепаратор независимо. Результат – повышение качества воздушной очистки.Воздушные каналыПолноразмерные по высоте, что обеспечивает высокую чёткость разделения семян на лёгкие и тяжелые, легких примесей и зерно.Решетная частьПроизводительность решет увеличена (форсирована) на 30% за счёт скорости движения решётных станов в 1,3 раза.Шариковая очистка решетИнтенсифицирована за счёт большей скорости соударения шарика с решетом.Приёмный бункерНе имеет распределительных устройств (подающих валиков, шнеков и т.п.), что позволяет ему не забиваться случайно превышенной подачей. Это способствует повышению сменной производительности машины.Технологические опцииЗа счет наличия в машине лотков с переключателями можно: - крупные примеси направлять в зерновые отходы (если в колосках много зерна); - легкую фракцию из второго воздушного канала направлять в подсев или в зерновые отходы; - машину можно настроить на работу с выделением зерновых отходов или без выделения; - имеющиеся специальные окна у вентиляторов позволяют производить их очистку без разборки.

Превосходства машины МЗП-50А перед аналогами (отечественными и зарубежными):

  1. Только МЗП-50А из всех машин с шариковой очисткой решет, работает на форсированных режимах. Они увеличивают производительность решет на 30%;
  2. Только МЗП-50А имеет воздушную часть, состоящую из двух независимых воздушных сепараторов с полноразмерными воздушными каналами, дающими высочайшее качество очистки зерна от легких примесей и деление семян на тяжелое и легкое.
  3. Только МЗП-50А имеет не забивающийся приёмный бункер обеспечивающий стабильность и высокую производительность работы машины;
  4. Только МЗП-50А имеет такие технологические опции:
- может легкие примеси выделенные вторым воздушным сепаратором направлять или в зерновые отходы или в неиспользуемые примеси (в подсев);
- может колоски направлять в зерновые отходы или в подсев;
- имеет возможность очистки вентиляторов без их разборки.

Комплект поставки

Машина поставляется в комплекте состоящим из решетного, двух воздушных сепараторов и системы очистки отработанного воздуха. Воздушные сепараторы смонтированы на единой раме и при транспортировке перевозится отдельно от решетного сепаратора. На машине установлен один комплект решет на очистку товарного зерна пшеницы из решетных полотен 990×740. Для очистки зерна и семян других культур необходимы дополнительные решетные полотна.
Схема установки МЗП-50А в помещении стандартного ЗАВа.

Приведенные характеристики показывают, что машина МЗП-50А способна удовлетворить современные требования, предъявляемые к очистке товарного и семенного зерна в условиях сельскохозяйственных предприятий и имеет значительные преимущества перед отечественными и зарубежными аналогами.

Характеристики

Смотрите также