Машина предварительной очистки МПО-25

Машины предварительной очистки товарного зерна и семян предназначены для выделения крупных примесей (камней, колосков, соломы и т.д.), мелких и легких сорных примесей из зернового вороха колосовых, крупяных, зернобобовых культур, кукурузы и подсолнечника с целью подготовки зерна к сушке и повышения эффективности последующей первичной и вторичной очистки.
Описание
Характеристики

Описание


Машины предварительной очистки товарного зерна и семян предназначены для выделения крупных примесей (камней, колосков, соломы и т.д.), мелких и легких сорных примесей из зернового вороха колосовых, крупяных, зернобобовых культур, кукурузы и подсолнечника с целью подготовки зерна к сушке и повышения эффективности последующей первичной и вторичной очистки.
Машины стационарные и рассчитаны для работы в поточных линиях и зерноочистительных агрегатах типа ЗАВ.
Эксплуатация машины должна проходить при температуре окружающей среды от -20оС до +40оС.

Состав и внешний вид машин.

Рис.1. Состав и внешний вид машин на примере машины МПО-25НС2:

1 - решётная часть, 2-воздушная часть, 3-циклоны.


Технологическая схема работы

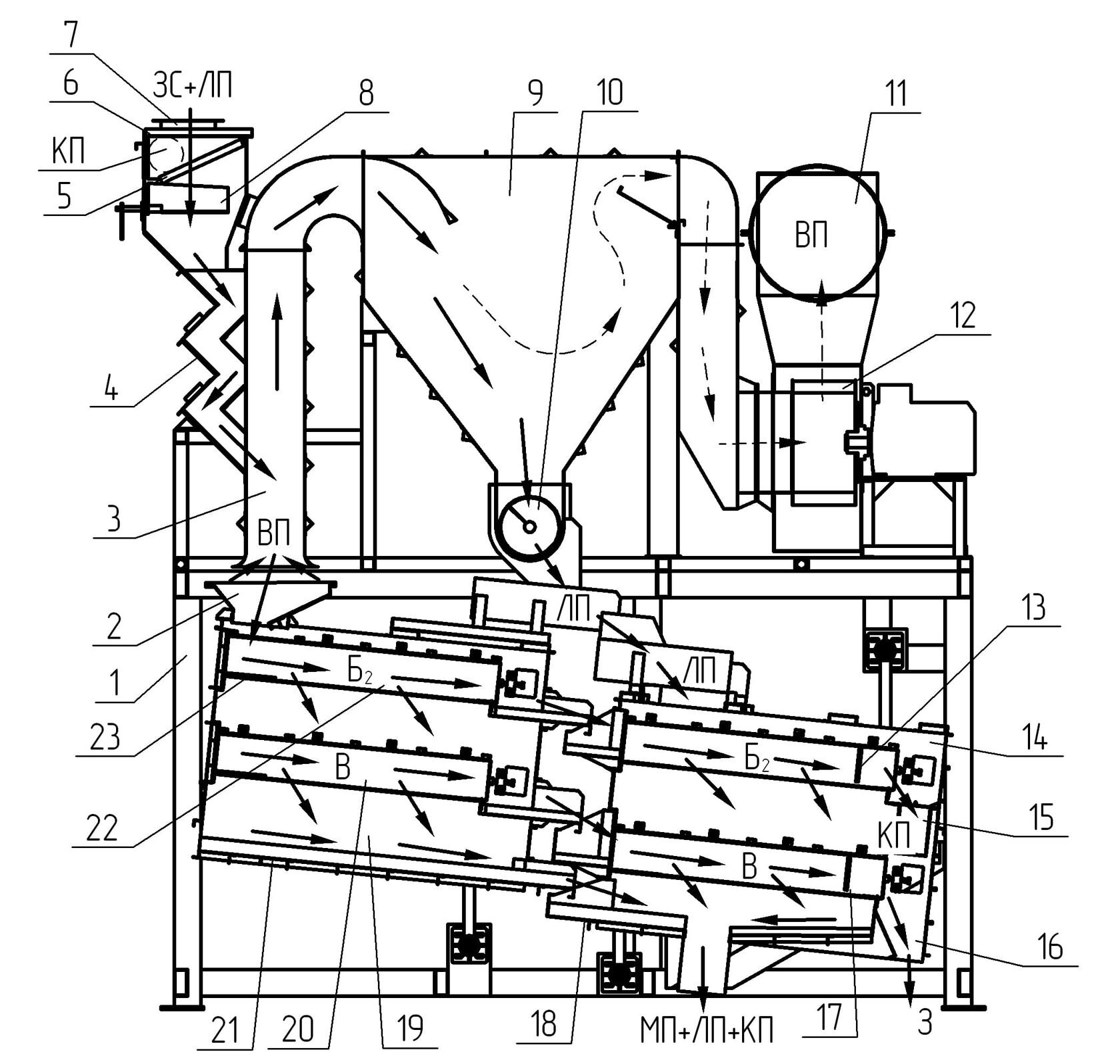
Рис.2. Технологическая схема машины МПО-25НС2

1 - рама; 2- приёмник зерна; 3-воздушный канал; 4-бункер; 5-решётка; 6-крышка; 7-входной патрубок; 8-рассекатели; 9-осадочная камера; 10-шнек; 11-вентилятор; 12-крыльчатка; 13-верхний решётный стан; 14- выход крупных примесей; 15-выход очищенного зерна; 16-нижний ярус решёт; 17-дно; 18-верхний решетный стан; 19-рамка решет; 20-дно.

ЗС –зерновая смесь; ЛП- легкие примеси; ВП – воздушный поток; КП- крупные примеси; З- очищенное зерно; МП- мелкие примеси.

Каждая машина состоит из воздушной и решетной части. Для очистки отработанного воздуха имеются циклоны.
Зерно очищаются воздухом и решетами. Воздух в машине разомкнутый, поэтому очищаемое зерно обрабатывается свежим воздухом, т.е. воздухом без пыли, а деление зерна по размерам осуществляется сменными решётками. Решета очищаются щётками.
Машины МПО-25НС1 и МПО-50НС1 отличаются от машины МПО?25НС2 тем, что в их конструкциях имеются решёта для отделения только крупных примесей, у МПО-25НС2 имеются решёта для выделения мелких и крупных примесей. Перед очисткой на машине устанавливаются решёта под конкретную культуру – колосовые решёта для выделения колосков, соломы и камней и подсевные решёта для выделения мелких неиспользуемых примесей, т.е. подсевы.
Отработанный воздух перед выходом в окружающую среду проходит тонкую очистку в циклоне.
Поступающий на очистку ворох попадает в бункер 4 рис.2, а из него в вертикальный воздушный канал 3, который выделяет из зерна легкие неиспользуемые примеси, которые улавливаются осадочной камерой 9 и из неё выводятся по самотёку в бункер неиспользуемых примесей, а запылённый воздух подаётся в циклоны для окончательной очистки.
Из воздушного канала 3 зерно, очищенное от легких примесей, самотёком поступает на решета Б2 и В.
Решета разделяют очищаемое зерно на три фракции – крупные примеси КП, мелкие примеси МП и очищенное зерно З. Крупные, мелкие и легкие примеси самотёком поступают в бункер неиспользуемых отходов.

Преимущества
Машины МПО-25НС1, МПО-25НС2 и МПО-50НС1 – превосходят аналоги по качеству очистки зернового вороха за счет сменных решет и разомкнутого воздуха путем подбора отверстий решет с учетом размеров семян и примесей;
  • машины не загрязняют семена пылью, которая способствует распространению болезней;
  • высокая технологическая эффективность машин даёт большую экономию топлива, когда машины работают перед сушилкой;
  • очищенное зерно на машинах увеличивает производительность последующих машин первичной очистки зерна на 15…20%, а при очистке семян позволяет довести их по чистоте до 1-го класса.

Характеристики

Смотрите также